Ch-Ch-Changes!
Much has happened since last outbursts here and elsewhere on the web that I've not had time, equanimity, energy, tools, emotional or cognitive bandwidth to disclose in coherent manner - just yet.
As is the habit of my life's scriptwriter, everything arrives at once... the good - no, great! and the horrid, head tilting actions of those affectionately /*sarc*/ referred to as the Under Belly here reminding me that I am persona non grata in their worlds, presumably to motivate my departure.
Chuffed by all of these am I because the time has come for new adventures and my genes are in the driver's seat, hankering to get back on the horses that threw me, stopped me, made me focus on survival and healing a lifetime of traumas only recently to have my understanding of myself, my journey thus far and what my life's been readying me to be/do/accomplish adjusted dramatically and, it seems - the last will indeed be the best part of this ride!
I have had the good fortune to have consulted a wise man whose comments have stuck with me for two decades now.
First: you have a lot to say. No surprise there but for that being a much less judgy offering than many received without solicitation and therefore discarded immediately. I did consult him after all.
Childhood nickname was Chatty Cathy. So it really is genetic!
A former work colleague upon seeing my name on Caller ID display after two decades of little to no contact cheerily answer with "It's the Janice Halligan Talk Show!"
[ I have great former workmate-friends with great senses of humor, if I do say so myself. Right, Tami? Ā š https://www.linkedin.com/in/tami-oike-thomlinson-70a7bb9 Ā ]
An acquaintance made on island since my return dubbed me The Communicator after observing me in a local eatery one day. I'll take that!
Unsolicited baseless judgy comments from random folk are habitually disallowed entry into my view of myself but do remain in memory as informative wrt from whom I choose to ignore input as best I can. It's a survival skill learned very early on in this "interesting life" - wise man's take on life up to that point.
Same person assessed the reasoning of 5 year old me when this strategy was chosen as brilliant. To me it was simply logical coping mechanism of which I had few to choose back then.
I've been hunkered down getting access to LinkedIn sorted these last few days involuntary stillness. Now I'm healing, this head wants to play with software and mingle with STEM folk again.
By the way, having no phone number to send SMS with code to retrieve passwords is astoundingly difficult for some platforms to deal with - still. Will be ditching one whose infinite loop refuses to have an escape clause as soon as I gain access to download my data.
#its2023TechHeads
#worldCrumblingAsWeWatch
#notEveryoneHasAPhoneNumber #thatStillWorks
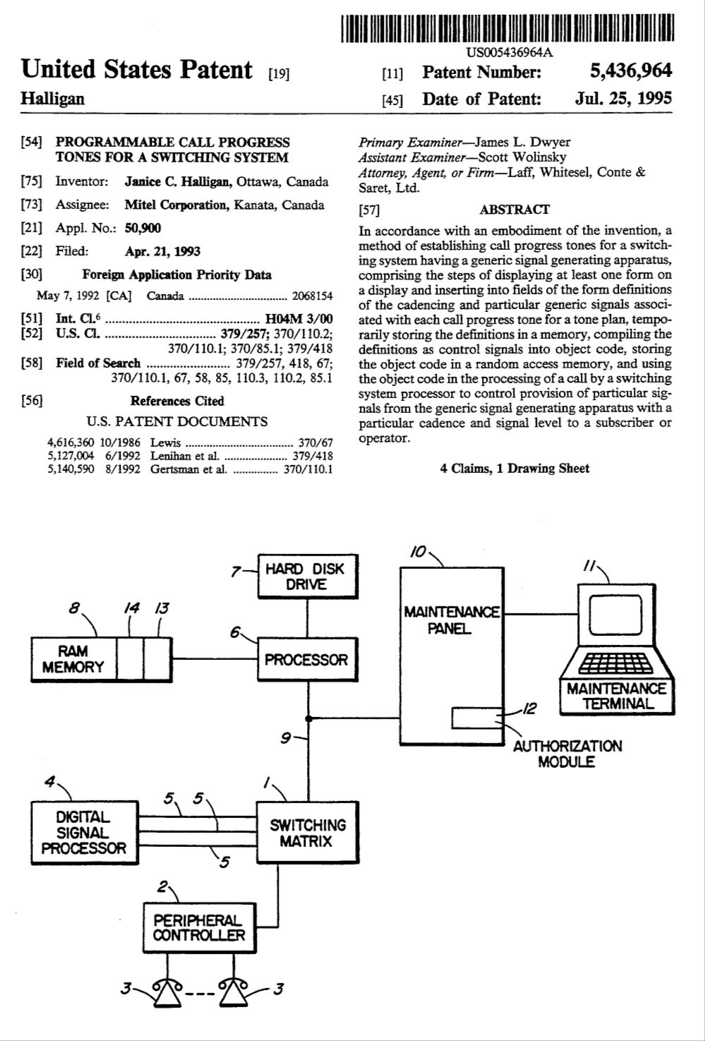
Back to a fun find that I located to put in LIn profile. Well put back in profile... it was there originally but platform databases are notoriously difficult to update *and* retain data integrity so they just ditch in a bit bucket somewhere... and never mention that to you. Amateurs.
Upside is that these days there're more ways to find and share resume type trivia than ever before. I located a link to put into profile but took a screenshot to share too. No place on LIn profile for these bits... who knows why. Storage maybe.
All manner of career nostalgia has resulted. Internal dialogue now includes 'Oh. Hey. I remember doing all that! Woot.' Ā This.

Have not read it again though. IP lawyers do not speak same language as Ā inventors. Linking here for later perusal - you know - next time I'm bored.
Bwahahah! #notHoldingMyBreathOnThatOne #neverADullMomentTheseDays

[ still on training wheels here... might be better ways to insert links etc. will do better when learn better. ]